Mise au point impossible sur Ahel 67?

Echanges sur tous les aspects du labo photo argentique noir et blanc : matériels, développement des films, tirage, etc. Présentations des labos photo argentique noir et blanc.
Répondre
Avatar du membre
joelc
Membre de l'association
Membre de l'association
Messages : 3052
Enregistré le : mardi 13 décembre 2011 17:52
Localisation : Morges, Suisse
Contact :

Mise au point impossible sur Ahel 67?

Message par joelc »

Bonsoir, j'ai un problème avec mon Ahel 67, je viens d'acquérir un Rodagon 80mm f:5.6 et j'ai mis les plus gros condenseurs (6x7) et les passe-vues en verre. Je n'arrive cependant pas à obtenir de netteté, si je remonte la platine, le vois presque la forme de l'ampoule et si je la descend, ça devient de moins en moins flou jusqu'à la butée.

Image

Uploaded with ImageShack.us

J'ai mis les deux condenseurs en bas, bosse contre bosse, ce qui semble être la seule position logique...

Je ne comprends pas pourquoi ça ne marche pas :bonk:
Avatar du membre
Oriu
Membre de l'association
Membre de l'association
Messages : 36206
Enregistré le : lundi 21 avril 2008 18:37
Localisation : 37 mais 2A par le coeur

Re: Mise au point impossible sur Ahel 67?

Message par Oriu »

La tête est trop basse, cela demande un tirage trop long du soufflet.
C'est un agrandisseur, pas un réducteur :lol:

Monte la tête plus haut et met un négatif pour avoir un repère de mise au point.
Ferme la boite de l'agrandisseur, c'est moins éblouissant :wink:
Toulin
Membre de l'association
Membre de l'association
Messages : 7071
Enregistré le : vendredi 10 septembre 2010 16:00
Localisation : Aquitaine

Re: Mise au point impossible sur Ahel 67?

Message par Toulin »

Je suis revenu un jour d'une foire photo avec un Durst 601 et son objectif de 50 mm, je ne pouvais pas faire la mise au point quelle que soit la hauteur de la tête, il m'a fallu un moment pour m'apercevoir que la lentille arrière de l'objectif était absente.

:?
Avatar du membre
joelc
Membre de l'association
Membre de l'association
Messages : 3052
Enregistré le : mardi 13 décembre 2011 17:52
Localisation : Morges, Suisse
Contact :

Re: Mise au point impossible sur Ahel 67?

Message par joelc »

J'avais ouvert juste pour la photo. J'ai remonté la tête et le problème persiste, même avec un négatif dans le passe-vues en verre, c'est toujours flou :x
Avatar du membre
db8x11
Super Gourou
Super Gourou
Messages : 2230
Enregistré le : jeudi 02 avril 2009 13:17
Localisation : Nord Bretagne

Re: Mise au point impossible sur Ahel 67?

Message par db8x11 »

Détails :
avec ce 80, tu essaies quelle taille de négatif et quelle taille de papier ?
Avatar du membre
joelc
Membre de l'association
Membre de l'association
Messages : 3052
Enregistré le : mardi 13 décembre 2011 17:52
Localisation : Morges, Suisse
Contact :

Re: Mise au point impossible sur Ahel 67?

Message par joelc »

Néga 6x6 ou 6x7 sur un papier 18x24.
Avatar du membre
Oriu
Membre de l'association
Membre de l'association
Messages : 36206
Enregistré le : lundi 21 avril 2008 18:37
Localisation : 37 mais 2A par le coeur

Re: Mise au point impossible sur Ahel 67?

Message par Oriu »

c'est la première fois que tu l'utilise ce 80mm ? en passant c'est un peu juste pour du 6x7 tu risque d'avoir des angles un peu moins bon, mais c'est pas pour ça que cela doit être flou.
Si on procède par élimination: les condenseurs servent uniquement à repartir la lumière sur ton négatif, ils n'ont aucune incidence sur la mise au point, donc c'est pas eux.
Il reste l'objectif, essaye de le dévisser et de l'éloigner de la platine pour voir si tu arrive à faire le point.
Ce qui m'étonne c'est que le soufflet est normalement assez long, il n'y a pas besoin de bague sortante, mais en faisant la petit manip tu pourra vérifier.
Avatar du membre
db8x11
Super Gourou
Super Gourou
Messages : 2230
Enregistré le : jeudi 02 avril 2009 13:17
Localisation : Nord Bretagne

Re: Mise au point impossible sur Ahel 67?

Message par db8x11 »

De toutes façons, le problème n'est pas dans le condenseur, qui ne se contente que d'envoyer de la lumière. Eventuellement, il pourrait donner du vignettage, ou de la répartition.

La mise au point c'est l'affaire de l'objo. T'es bien sûr de ton caillou ?
Pas non plus de truc qui empêcherait les mouvements de la platine ?

Pas le mec qui serait trop exigeant, en voulant compter les ailes de mouches à 100 mètres ?
Avatar du membre
Oriu
Membre de l'association
Membre de l'association
Messages : 36206
Enregistré le : lundi 21 avril 2008 18:37
Localisation : 37 mais 2A par le coeur

Re: Mise au point impossible sur Ahel 67?

Message par Oriu »

je vois sur le photo un vérificateur de mise au point, ce modèle n'est pas tiptop, je conseille le Scoponet et pour débuter évite les négatifs à grain tabulaire le grain est très fin sur du 6x7 au format 18x24 c'est qu'un rapport de x3,5.
Dégrossi la mise au point à l'oeil en prenant un détail net du négatif
Avatar du membre
joelc
Membre de l'association
Membre de l'association
Messages : 3052
Enregistré le : mardi 13 décembre 2011 17:52
Localisation : Morges, Suisse
Contact :

Re: Mise au point impossible sur Ahel 67?

Message par joelc »

J'ai acheté ce Rodagon d'occasion hier. Il a l'air en bon état...Je ne cherche pas à voir les ailes de mouches mais seulement à ce que je puisse reconnaître le paysage que j'ai photographié, c'est à peu près aussi net que l'arrière-plan de mon avatar...

J'essaierai la technique de l'éloignement ce soir!
Avatar du membre
Oriu
Membre de l'association
Membre de l'association
Messages : 36206
Enregistré le : lundi 21 avril 2008 18:37
Localisation : 37 mais 2A par le coeur

Re: Mise au point impossible sur Ahel 67?

Message par Oriu »

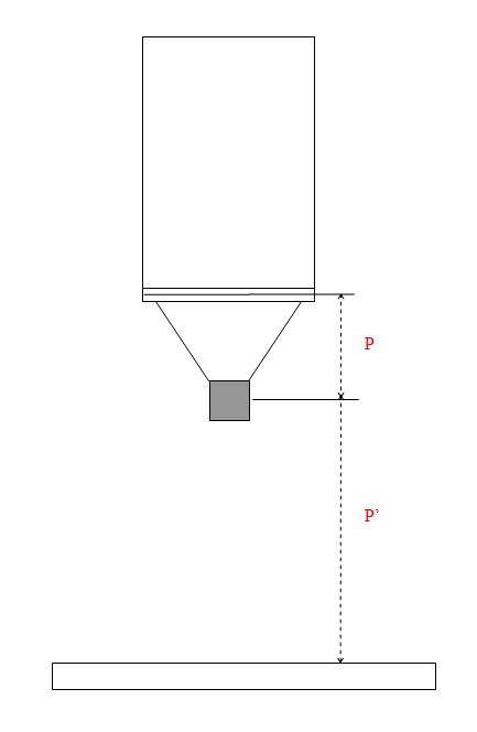
j'ai fait un calcul en utilisant les relations suivantes:

1/P+1P'=1/f et G= P'/P
Image

P= distance entre le film et le centre de l'objectif
P'= distance entre le centre de l'objectif et le plateau
f= focale de l'objectif
G= rapport d'agrandissement

P'=(1+G)f si l'agrandissement est de x3 (format 18x21cm)
P'= (1+3) 80= 320mm
P= P'/G donc 320/3= 106,7mm il faut donc sortir pas mal le soufflet !
Si le soufflet n'est pas assez long, il faut une bague sortante pas facile à trouver, c'est du travail de tourneur.
Avatar du membre
joelc
Membre de l'association
Membre de l'association
Messages : 3052
Enregistré le : mardi 13 décembre 2011 17:52
Localisation : Morges, Suisse
Contact :

Re: Mise au point impossible sur Ahel 67?

Message par joelc »

J'ai essayé d'éloigner, ça ne donne rien.

Par contre, un détail me turlupine, voici l'arrière de l'objo.

Image

Uploaded with ImageShack.us

C'est normal que les lamelles soient accessibles comme ça? Parce que s'il manque une lentille, ça va chauffer :evil:
Avatar du membre
Oriu
Membre de l'association
Membre de l'association
Messages : 36206
Enregistré le : lundi 21 avril 2008 18:37
Localisation : 37 mais 2A par le coeur

Re: Mise au point impossible sur Ahel 67?

Message par Oriu »

Elle est bien bonne celle là, il manque les lentilles à l'arrière :shock: :shock: :? :evil:

Image

il manque le bloc arrière qui contient 3 lentilles
Image
Avatar du membre
joelc
Membre de l'association
Membre de l'association
Messages : 3052
Enregistré le : mardi 13 décembre 2011 17:52
Localisation : Morges, Suisse
Contact :

Re: Mise au point impossible sur Ahel 67?

Message par joelc »

Ça va chier! :evil:
Modifié en dernier par joelc le samedi 12 mai 2012 21:52, modifié 1 fois.
Toulin
Membre de l'association
Membre de l'association
Messages : 7071
Enregistré le : vendredi 10 septembre 2010 16:00
Localisation : Aquitaine

Re: Mise au point impossible sur Ahel 67?

Message par Toulin »

Là le coup est vache, vendre un objectif sans le bloc arrière.
J'ai eu le même coup, mais l'objectif était un bas de gamme compris dans le prix (très bas) de l'agrandisseur.
Avatar du membre
joelc
Membre de l'association
Membre de l'association
Messages : 3052
Enregistré le : mardi 13 décembre 2011 17:52
Localisation : Morges, Suisse
Contact :

Re: Mise au point impossible sur Ahel 67?

Message par joelc »

Bonsoir,

J'ai un gros problème, cet objectif est inutilisable. Je l'ai monté sur mon agrandisseur et il s'est avéré que la mise au point est impossible. Après plusieurs recherches, je suis arrivé à la conclusion que le bloc optique arrière était manquant. Un comble pour un objectif "en parfait état" !

Je vous demande donc un remboursement intégral du prix de l'objectif et vous le rends volontiers.

Salutations,
Voilà, c'est parti pour une bonne partie de plaisir!
Avatar du membre
Oriu
Membre de l'association
Membre de l'association
Messages : 36206
Enregistré le : lundi 21 avril 2008 18:37
Localisation : 37 mais 2A par le coeur

Re: Mise au point impossible sur Ahel 67?

Message par Oriu »

c'est peut être un vendeur qui n'a aucune idée sur ce qu'il a vendu, dans ce cas il ne fera pas de difficulté a rembourser. Mode bisounours
Avatar du membre
joelc
Membre de l'association
Membre de l'association
Messages : 3052
Enregistré le : mardi 13 décembre 2011 17:52
Localisation : Morges, Suisse
Contact :

Re: Mise au point impossible sur Ahel 67?

Message par joelc »

j'espère aussi... Faudrait être vraiment retors pour vendre un demi objectif...
Avatar du membre
db8x11
Super Gourou
Super Gourou
Messages : 2230
Enregistré le : jeudi 02 avril 2009 13:17
Localisation : Nord Bretagne

Re: Mise au point impossible sur Ahel 67?

Message par db8x11 »

Les lamelles dans les courants d'air, quand même, faut le faire !
Répondre

Retourner vers « Labo photo argentique Noir et Blanc »